为夯实Project Titan汽车项目基础,苹果近日又获得了一项改善汽车基本元素的创新技术专利,描述了如何对当前大部分车辆中的地板系统和车门进行改进,从而提升车身强度以及腾出更多的空间来容纳电池。
这项技术专利名称为“Passenger vehicle and door structure”(乘用车和车门结构),于本周二获得美国商标和专利局(USPTO)批准。在苹果的设想中,利用安装在车辆两端的铰链来往外打开车门。但在苹果的设想中前后门之间并不需要通过从地板到车顶的垂直立柱来承担重量,而是创造了一个没有干涉部分的大开口,这样也能安装更大的车窗获得更宽的视野。

根据苹果专利描述,苹果声称车门会将有效荷载的重量转移到静态车身结构中。苹果设计形成了一个可移动的门柱,可以将门的负载转移到车辆的车顶和地板上,在有效完成相同工作的同时保持了对门柱的需求。
在苹果设计专利中,建议在车辆的两端安装铰链,中间不需要立柱,也不需要在门内嵌入quazi-pillar。相反,苹果建议增强门的结构,对角线部分从最靠近铰链侧的门顶部延伸到两扇门相遇的地板。
当两个车门关闭的时候,车门连接在一起,并且在两个门之间延伸张力。通过配合地板上的锁定机构,这个车门有足够的强度满足垂直门柱的需求,而且不会牺牲视野。
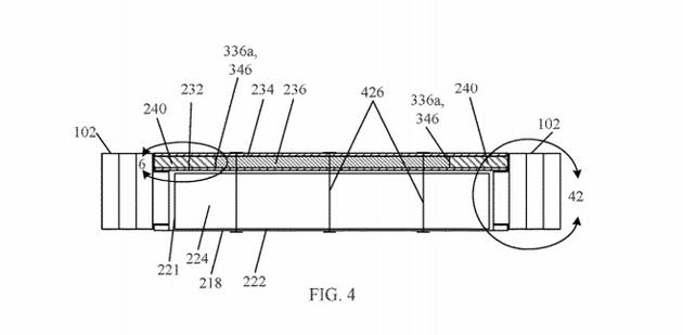
第二项专利名为“Vehicle floor and assemblies thereof”(车辆地板及其组件),描述了如何设计车辆的地板,在遭到外部冲击或者正常驾驶所产生影响下尽可能多的保持结构完整性。并且通过优化地板组件上部和下部,在不浪费太多垂直空间的情况下以腾出更多的空间来存储其他元件(例如电动汽车中的电池)。
Apple的解决方案需要使用下板,上板,连接到两个板上的外侧结构以及也粘附在两个板上Q的垂直芯。两个板可以由多个单独的板制成,这些板堆叠并边缘焊接在一起,具有不同的厚度,这取决于结构中需要的强度。

该设计还可以包括能量吸收和力扩散区域,其可以用于减轻由事故引起的损坏,每个区域具有不同的抗压强度。平衡是要有足够的强度来防止像电池组这样的敏感元件的压缩,如果被刺穿可能会很危险。
该专利还涉及地板的制造过程,包括粘合剂的铺设,芯和外侧结构的对准,加热和加压,冷却,平整度校正和上层组装。